This review is a reprint of a presentation Lee DeForest made at the October 26, 1906 New York meeting of the American Institute of Electrical Engineers. DeForest had done some experimentation with radio signal detectors enclosed in partially evacuated glass tubes, which he called "Audions" -- this account covers some of the early, largely unsuccessful configurations. It wasn't until later in the year that he made an important change to his three-element design, placing a "control" electrode, which he called a "grid", between the "plate" and "filament" electrodes. It is the "grid Audion" that would be actually prove to be usable as a detector.

DeForest's review of his work included numerous impressive charts, plus an extensive account of what appears to be every phenomenon ever observed in working with this and related devices. What it didn't include was a clear explanation of how the Audions were supposed to work. While proclaiming that it was clearly based on completely new principles, DeForest admitted he really couldn't fully state what these new principles were, and buried deep within the expansive text and charts is the admission that "I have arrived as yet at no completely satisfactory theory" as to how the device worked.

As American DeForest's Scientific Director, DeForest was supposed to be developing a non-infringing radio system -- however the courts would not agree that he had succeeded, which led to patent-infringement entanglements. J. Ambrose Fleming and the Marconi Company would later successfully claim that the grid Audion infringed on Fleming's earlier two-element tube -- in this article De Forest tried to parry this claim by including a few hints that maybe Fleming's invention was actually anticipated by work done and phenomena described by Elster and Geitel in 1882. (In 1943, the United States Supreme Court would overturn Fleming's two-element patent on technical grounds).

 
Scientific American Supplement No. 1665, November 30, 1907, pages 348-350:

T   H   E      A   U   D   I   O   N.--I.*
A   N E W   R E C E I V E R   F O R   W I R E L E S S   T E L E G R A P H Y.
B Y   L E E   D E   F O R E S T.


    THE story of the development of a device of a distinctively new order, from its first inception to its practical reality, adds a human interest to its description which is perhaps too often lacking among scientific records. In 1900 when I was beginning experiments on the electrolytic responder, it was my good fortune to have to work upon it at night in my own room, at a table beneath a solitary gas burner with Welsbach mantle. My source of Hertzian waves was the discharge of a small induction coil placed in an opposite corner and set into operation by a key closed by pulling a string.
    One night I noticed to my surprise a decided diminution in the light from the incandescent mantle whenever the coil was sparking. The constant recurrence of this effect induced me to investigate. By proper adjustment of the inflow of gas and air to the burner, an almost complete extinction of its light was obtained during the sparking of the coil. Another adjustment even allowed an increase of the light above normal. For several days I was elated over the tremendously sensitive and altogether novel type of Hertzian-wave responder thus accidentally discovered. But alas for the over-sanguine spirits of the young investigator! When I thrust my induction coil into a closet and closed the wooden door, thus shutting off the sound of its vibrator and spark, my gas light ceased to fluctuate.
    I found I had merely discovered an extremely responsive form of the sensitive gas flame, and that a bunch of jingling keys or a smart clapping of the hands were almost as efficient generators of these Hertzian waves as was my induction coil. To hopes unrealized this was indeed the "light that failed."
    But the few days of illusion had set me thinking. Here in the flame around this incandescent mantle was matter in a most mobile, tenuous state, extremely sensitive to sound and heat vibrations, infinitely more delicate than any arrangement of solid or liquid particles. Why should it not then in some phase or fashion respond to the Hertzian vibrations also? gas burner
    Unable to dislodge this conviction from my mind, I began later to search for the genuine response to electric vibrations in the gas flame. I found the conductivity of the incandescent mantle surprisingly small, however, for any voltages which would be practical in a wireless receiver.
    By soaking the mantle in a potassium or sodium solution and drying, I was finally able to pass a small current from a dozen dry cells through the flame surrounding it, using two platinum electrodes with a telephone receiver in circuit, and get a faint response to the genuine Hertzian wave. The discovery that the effect predicted was actually present was intensely gratifying.
    Experiments followed with the Bunsen burner and other forms of flame. In the coal-gas flame the exterior luminous portion is positively electrified, the interior negatively. To render these flames sufficiently conducting, salts of the alkali metals were introduced. Of these the caesium, potassium, and sodium salts are the most conducting, and in the order named. These salts were either injected into the flames, as solution, or preferably put in a little platinum cup held in the luminous part of the flame and made the cathode of the telephone circuit.
    A platinum wire or disk held about 2 millimeters above this cup acted as anode. The antenna and earth connection, or the two terminals of the oscillating receiving circuit, were connected to these platinum electrodes. An electromotive force of 6 to 18 volts, supplied by a battery of dry cells, was sufficient to give a current of several milliamperes through the colored flame.
    This early form of audion, the flame receiver, was remarkably sensitive to weak high-frequency oscillations. The sound heard in the telephone was an exact reproduction of that of the transmitter spark, in pitch, variation of intensity, etc. current graph
    It was observed that the increase of current with electromotive force did not follow Ohm's law; a saturation value of the current was observed. Wilson has found that the maximum current which a salt vapor in a flame can carry is equal to the current which if passed through an aqueous solution of that salt would electrolyze the same quantity of the salt as was imparted during the same unit of time to the heated gas.
    Beyond this saturation value the current will not rise until the electromotive force is great enough to enable the field itself to ionize the gas: that is, until the velocity imparted to the negative ions by the field is sufficient to enable them to separate the gas molecules with which they collide into positive and negative ions.
    The conduction through flames under the conditions I am describing is due chiefly to the negative ions generated, and these are chiefly in the vicinity of the metallic cathode. It is necessary that the alkali vapor comes in contact with the glowing metal. The increase of conductivity of a flame by the addition of a salt may amount to several hundred per cent, and is due not to the presence of the metallic atoms in the flame itself, but to the increase in ionization produced by the salt at the electrodes, notably the cathode.
    The velocity of the negative ions in flame at atmospheric pressure increases rapidly with the temperature. Thus at 2,000 deg. C. their velocity is approximately forty times that at 1,000 deg. C. At 1,000 deg. C. the ratio of velocity of negative ions to positive ions is calculated as 26 / 7. At 2,000 deg. C. this negative ion velocity is about 1000 cm./sec. for a potential gradient of one volt per centimeter.
    Now suppose the average velocity of a negative corpuscle to be proportional to the electric force; this velocity, for a potential drop of 10 volts between the electrodes as I use them, is of the order required to traverse the distance between the incandescent body and the platinum anode during the time of one-half the wave period of the electrical oscillations ordinarily used in wireless telegraphy.
    I shall return later to the bearing which this fact has upon a suggested explanation of the effect of the Hertzian oscillations upon the gas receiver.
    On account of the ionization of the gas near the incandescent metal, and the greater velocity of the negative over the positive ion, it is to be expected that even if no external electromotive force be applied to the electrodes, and one of these be relatively cold, a current will pass along a wire connecting the two electrodes, whose direction is negatively from the hotter to the cooler body in the flame. In other words, the colder body will be the anode, positively charged.
    Now, if the Hertzian oscillations traverse the hot gas, the momentary potentials thereby impressed upon the moving ions will conceivably interfere with their motions, or with the rates of recombination between the positive and negative ions, and thus effect the current flowing through the wire. A telephone connected between the electrodes indicates that changes of a surprising amount in the momentary potential difference, or flux, across the electrodes are effected by the high frequency oscillations, even when no external battery is applied.
    When a battery of from six to twenty dry cells is connected across the two electrodes, the positive terminal to the cooler electrode, the potential current curve for the conductivity of the gas it at first approximately a straight oblique line, the current through the flame increasing with the electromotive force.
    Soon, however, this proportionality of current and voltage ceases, and a stage of saturation is reached where there is no appreciable increase of current with increase of voltage. But when the potential difference is raised sufficiently to ionize the gas, a stage is reached where the current increase is far more rapid than that of the potential difference. This last potential gradient depends upon the pressure of the gas; it is directly proportional to the pressure. This is given by Thomson as about 30,000 volts per centimeter for atmospheric pressure; but with incandescent gases in an inclosed vessel at one millimeter pressure a gradient of 40 volts per centimeter is sometimes sufficient to produce this critical stage.
    In the case of the flame, the distances between the electrodes figure very little in the amount of flowing, the potential drop, or the sensitiveness to Hertzian oscillations, because most of the ionization at low voltages takes place at the electrodes.
    The size and shape of the electrodes are of small moment. I prefer a trough anode 1 centimeter long by 2 millimeters wide, holding the potassium salt, as cathode, and a small platinum wire parallel thereto and held 2 to 10 millimeters above it as anode.
    The trough electrode should preferably be at the upper tip of the oxidizing flame at its junction with the reducing flame. When this is made negative the current is saturated with a comparatively small potential difference. The gas burner itself may be used as one electrode. The flame must be steady and kept rich in salt. The current of up-rushing flame makes a rumbling noise in the telephone, which may interfere with the detection of faint signals. This rumbling sound increases with too great applied potentials.
    The temperature, especially of the electrodes, is an important factor. At red heat these give off positive corpuscles; at white heat both positive and negative appear, the latter predominating. The electrode containing the salt should always be incandescent, so that the excess of negative ions given off and streaming toward the other electrode will increase, rather than diminish the current due to the flame itself. The extreme sensitiveness of the flame when ionized to thermal variations is illuminated by the fact that a distinct response is heard in the telephone receiver when the mere tip of a cold pin is suddenly introduced into the flame. The sudden introduction of a cold body into the active part of the flame always reduces the response. The salt is best placed in, or on, one of the electrodes rather than held in the flame in an independent receptacle, or injected into the gas.
    The applied electromotive force is a determining factor in the sensitiveness of this receiver. The response seems greatest where the potential current curve is passing from the oblique to the horizontal portion, where the saturation value is about to be reached. early audion Under these conditions the sensitiveness of the flame audion is of the same order as that of the electrolytic receiver using a glass-jacketed electrode. The flame is not most sensitive when the flux is greatest. There is a close relation between the degree of heat and the critical impressed voltage.
    Considerable difficulty was found in getting an absolutely steady flame, even when protected by a chimney as the slightest air current will deflect the sensitive portion from the electrodes, altering the sensitiveness of response.
    I next sought the phenomenon in the hot conducting gases of the electric arc. If a wire be connected to the positive carbon of the arc and led through a telephone to a third electrode, platinum or carbon which is inserted into the border of the arc, a considerable current passes through the telephone. If these two electrodes are now connected to the terminals of the receiving oscillating circuit, the conduction of the leak current across the gas to the third electrode is sensibly affected by the arriving Hertzian oscillations, if sufficiently intense. A local battery can also be inserted series with the telephone, but the voltage drop across the arc is usually too great to require this.
    Even when the arc is fed from a storage battery and cored carbons used, the hissing and frying noises in the telephone (probably due to the oxidation of the terminal by the air) are generally too troublesome to allow a clear reading of weak signals with this form of audion.
    The principles involved in its operation are much the same as for the flame audion. And although the intense ionization produced by the heat of the arc renders it extremely sensitive to slight local variations, its practical requirements make it less available as a wireless receiver.
    Inasmuch as the gases ionize more readily at lower heats and are in their most mobile, delicate, and sensitive conditions in vacuum, it seemed to me certain, after experiments with the flame, that the attenuated and ionized gases around an incandescent filament would undergo very considerable changes when subjected to Hertzian oscillations.
    Elster and Geitel, [Elster and Geitel, Wied. Ann., xvi, 1882] beginning in 1882 a systematic investigation of the ionization produced by incandescent metals, frequently employed an exhausted glass vessel containing an insulated platinum plate, stretched close to which passes a fine metallic filament brought to incandescence by an electric current.
    Ordinarily at atmospheric pressures and red heats a positive charge was produced upon the plate, of the order of a few volts. This potential increases until the wire is at a yellow heat. As the wire gets hotter the potential decreases, until at a bright white heat the potential of the plate is very slight. Diminishing air pressure has but slight effect upon the plate potential until very high exhaustions are reached, when this potential begins to diminish and may even change sign, and as the exhaustion proceeds may reach a very large negative value. This pressure where the plate charge changes sign depends upon the temperature of the filament, being higher at higher temperatures.
    Long-continued heating and expulsion of gas from the incandescent metal play a considerable part in the electrical phenomena. Long-continued incandescence favors the negative electrification of the plate. The presence of oxygen aids in the carrying off of a negative charge, thus producing negative electrification around the wire; hence the action of oxide of metal on filaments tends to increase the discharge of negative electricity. But oxygen also hastens the disintegration of the filament.
audion
two wire audion

    Gases which are dissociated by heat conduct on quite a different scale from those like air, hydrogen, or nitrogen. Examples of such are the vapors of iodine, bromine, chlorine, potassium, etc. These furnish a much larger supply of ions than the others. This dissociation occurs chiefly where the gas is in contact with the glowing electrodes. Of the metals, sodium and potassium have the highest conductivity under the above conditions, for the emission of negatively electrified corpuscles from sodium atoms occurs even at low temperatures; and I have used carbon filaments coated with a potassium compound. The conductivity of cold mercury vapor does not seem greater than that of air.
    With hydrogen, the plate becomes negatively electrified even at atmospheric pressure; and when the filament is carbon instead of platinum the electrification on the plate is always negative. This means that the gas will discharge the plate it positively electrified; that is, a positive current will pass from the plate to the filament in the gas.
    The electrification produced in the neighborhood of an incandescent wire is a complicated effect; it depends on the temperature and nature of the filament, and on the nature and pressure of the gas. It furthermore depends upon the electric and magnetic forces to which the vessel is subjected; and I have found that the shape and area of the plate or plates, the condition of its surface and edges, as well as its distance from the filament, are very important factors.
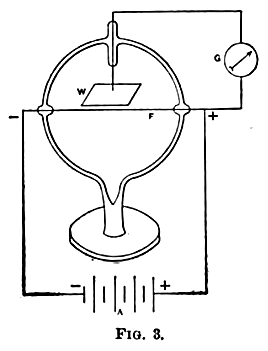
    If the metal plate be connected by an outside wire to the positive terminal of the hot filament, a leak-current from the plate to the filament through the gas will be set up, as Elster and Geitel first found, passing mainly to that portion of the filament near its negative terminal. If the resistance of the lamp filament and the lamp's voltage be high, a very considerable leak current may thus be set up.
    A battery of from three to eighteen dry cells is connected between the positive end of the filament and the platinum plate W, the latter being connected to the positive pole. The saturation current increases rapidly with the heating current through the filament, which also increases the velocity of the negative ions, as does also an increase in the applied electromotive force between plate and filament.
    The rate of discharge of negative electricity from glowing carbon greatly exceeds that from platinum, while that from tantalum and other of the newer filaments, given the same heating current, surpasses the rate of discharge from carbon.
    Thomson states the equation connecting the saturation current with the temperature as ( I = ½e  -b / θ) where θ is the absolute temperature, A and b are constants.
    At 2,000 deg. C. this rate of emission from a platinum wire in high vacuo amounts to 0.1 ampere per square centimeter of hot surface. For carbon this current can equal several amperes per square centimeter surface. In the audion the flux current ordinarily ranges from 1 to 5 milliamperes.
    The metal dust, or even vapor, from the incandescent filament may play a part in the phenomena, but not a controlling one. Thomson has shown that the value of e / m for the carriers of electricity in the type of exhausted vessel described is the same as its value for the carriers of the negative electricity in the cathode rays, or in the discharge of negative electricity from metals illuminated by ultra-violet light. In fact, in many ways the behavior of the audion, notwithstanding the extremely low potentials used, is very similar to that of a cathode-ray tube; and in one or two small pea lamps where the anode disk was close to the bend of the filament I have actually obtained, at only 22 volts, a blue-white beam of light playing between the filament cathode and the anode. Upon the approach of a powerful magnet this beam could be concentrated and deflected. A great increase in the current through the telephone marked the formation of this beam, and a violent hissing or squealing sound began when the magnet was approached.
    The corpuscles at the filament are attracted by the metal of the filament, and to escape into the surrounding space they must be given sufficient kinetic energy to carry them through the surface layer where this attraction for the carriers is appreciable. Thus, as the temperature of the filament increases, a larger number of the carriers can escape from the wire. But the saturation values of the flux current do not depend upon the velocity of the ions, but only upon the number of ions produced in unit time at the surface of the hot metal.
    The source of ionization is confined to the gas immediately surrounding the filament. The velocity of the ion at any instant is dependent on its distance from the filament, because the temperature is not uniform between filament and plate. The ratio of the velocities of negative to positive ions varies greatly with the temperature: thus they are given as 1,000 to 62 at 2,000 deg.
    This fact explains why the positive conductivity of the gas in the vessel is almost entirely from the cold to the hot electrode in the gas, and not in the reverse direction; and why this unidirectional quality is more marked for higher temperatures of the cathode, the anode being kept cold.
    In the form of audion illustrated in Fig. 4, I employ two platinum wings parallel to the plane of the bowed filament and about 2 millimeters on either side of it. These wings are soon coated with an iridescent deposit from the metal filament, especially at the portions opposite to the negative half of the filament. They become quite hot at this short distance, but not sufficiently hot to take part in the ionization of the gas.
    When connected in the oscillation circuit as shown, properly attuned to the receiving electromagnetic impulse from the antenna, the audion under proper adjustment of heating current and battery B potential is extremely sensitive, giving response In the receiving telephone several times as loud as any other form of wireless receiver when subjected to the same impulses. It is, however, less sensitive to atmospheric or static disturbances, which are strongly damped or aperiodic.
    I find the device extremely closely tuned with the syntonizer, for its operation seems to be dependent upon the sum total of the energy received from the complete wave train rather than upon the maximum first impulse of the train. In other words, while instantaneous as far as our senses or instruments can perceive, its action is sufficiently sluggish to be determined by the additive effect of the entire received electro-radiant energy through a short time interval.
    When the filament is first lighted, an appreciable interval, about one-quarter second, elapses before the full sensitiveness is established. Before the flux reaches a steady state there is a period during which the number of ions is steadily increasing. As a result of the colliding of the initial ions with the gas molecules the number of ions and the current rapidly increase, until an equilibrium is finally attained.
    The audion, to a greater extent than any other responder, is self-tuned. I mean that by regulating the heating current, the potential between wing and filament, or the distance between these, the audion can be made to a great extent selective per se to certain received impulses. And the determining factor here is not merely the frequency of the electrical oscillation; the spark frequency, or factors determining the total amount of energy received during a very brief unit of time, determine to an extent the amount of its response. Thus with 12 volts across it, it may give a loud response to a transmitter A; and with 10 volts "bring in" another transmitter B to the almost complete exclusion of A, although A and B are of equal power and of approximately the same wave-length, but differing considerably in spark frequency. Similar discrimination can be produced by adjustments of the heat of the filament, which also governs the amount of flux through the gas. This flux is generally reduced when the audion is placed in a strong magnetic field, especially when the lines of force pass through the gas parallel to the plane of the wings, at right angles to the electric field. By this means also a tuning can be effected. audion
    Again, it is not necessary to connect the anode to a terminal of the oscillating circuit. One terminal may be attached to a metal sheath or ring surrounding the glass vessel, thus forming a condenser with the filament or the conducting gas within the tube. In this case the adjustment of the syntonizer is generally different from that required for the same oscillation frequency, when the interior wing is directly connected in the oscillation circuit. In this condenser arrangement also the sound heard in the telephone changes its quality to an extraordinary degree, being of a dull muffled nature rather than sharp and staccato. Signals of this quality are sometimes much more readily distinguished from the "static" disturbances which so frequently render wireless signals difficult to read. The operator has thus a ready means of changing the quality of the received signals to suit the conditions. This latter type or audion is the one I have found most serviceable in practice.
    The audion may even be placed in the space between two plates of an air condenser in the oscillating circuit. A flat-walled type of tube is preferred for this arrangement. Again, the electrical oscillation may be led through a coil of wire wound around the outside of the tube (Fig. 6), and not through the audion at all, or through a flat coil brought up close to the tube, with its axis perpendicular to the filament. In this arrangement it is chiefly the electromagnetic component of the passing oscillation which affects the motion of the ions within the vessel. The ions are readily influenced by a magnetic field.
    By shifting the syntonizer connections from the wings to this helix, I have been able to cut out completely signals from a transmitting station so near as to baffle all attempts with the ordinary tuner methods, and to bring in other relatively faint signals.
    The audion has the further advantage of entire absence of adjustment in the receiver itself. It gives no evidence of fatigue under any conditions of use. Furthermore, it requires no protection from the violent impulses of the transmitter at its own station, whereas the sensitiveness of the electrolytic receiver is completely destroyed by one such violent impulse, unless its small electrode is protected by a shunting switch.
    I have arrived as yet at no completely satisfactory theory as to the exact means by which the high-frequency oscillations affect so markedly the behavior of an ionized gas. Fleming points out that when the cold plate of the Elster-Geitel tube is connected to the positive end of the filament, and the two put in a high frequency oscillation circuit, only the positive half of the oscillation can pass from the plate to the filament across the gas. He uses this principle to rectify the Hertzian oscillations, and applies the unidirectional currents of the oscillations themselves to operate a sensitive galvanometer or direct-current instrument, for quantitative measurements over short distances.
    When an independent external source of electromotive force is applied, in the manner I have described, the action becomes quite different. It then operates as relay to the Hertzian energy instead of merely rectifying this energy so that it can be used directly to give the sense signal.
    The audion, therefore, is tremendously more sensitive and available in practical wireless. A sensitive direct-current instrument in the B circuit shows steady deflection varying not a whit, by increase or decrease, during the reception of strong "wireless" signals. An electrolytic receiver or "polariphone" under similar conditions would cause a great deviation in the deflection of a milliammeter, although the signals in the telephone with the electrolytic are not so loud as with the audion.
    I have connected two audions in series in opposition in the oscillating circuit each with its separate beating circuit, and still heard the signals in the telephone connected to the second audion equally well, whether the wing in the first be connected to the wing or to the filament of the second.
    When one of the tubes is unlighted or if lighted its B circuit is open, no high-frequency impulses pass through it unless the wing and filament are very close together. When cold it acts merely as a condenser whose armatures are the wings and filament and whose capacity is extremely small.
(To be continued.)

Scientific American Supplement No. 1666, December 7, 1907, pages 354-356:

T   H   E      A   U   D   I   O   N.--I I.*
A   N E W   R E C E I V E R   F O R   W I R E L E S S   T E L E G R A P H Y.
B Y   L E E   D E   F O R E S T.

Concluded from Supplement No. 1665, page 350.


    I HAVE laid considerable stress upon the potential gradient or "variation" layers which exist near the surface of the electrodes when the external applied electromotive force is considerable, for the reason that their existence serves to play a very important rôle in the response of the audion to minute high frequency oscillations.
    If the velocity of negative ions is very large compared to that of the positive ions, the curve representing the distribution of electrical intensity between the two electrodes is represented by the following, which is typical.
    When ions of both signs are present in the gas and when the electric field is so strong that most of the positive ions are driven from the anode and the negative ions from the cathode (the filament), we will have an excess of cations in front of the anode and of anions surrounding the cathode.
    It is seen that the variation in potential lies chiefly in the thin layers of gas in front of the two electrodes. It is convenient to speak of these regions as the "variation" layers. As Thomson points out, in passing from the inside to the outside of the layer of ionized gas we have to pass across a layer of electricity. This will produce a discontinuity in the electrical intensity equal to 4π times the surface density of the electrification.
    There may thus be a great difference between the electric intensity inside the layer and that just outside. The potential drop across the layer is proportional to the square of the current; the falls of potential at the positive and negative electrodes are proportional to the squares of velocities of the positive and negative ions; and the velocity of the ions is proportional to the electric force acting upon them.
    These variation layers at the electrodes of the audion make still more striking its similarity with the cathode-ray tube. In the cathode tube a sudden drop in potential called the "anode fall of potential" occurs quite close to the anode; and in the layer called the Crookes dark space, or cathode dark space, there is a still greater fall in negative potential. But the voltages here are enormously higher than those in the audion. As the gas pressure in the cathode tube diminishes, the dark layer, or the cathode drop layer, becomes broader. D = α + β γ that is, the width of the dark space is proportional to the mean free path of the molecules, beyond a certain distance a in front of the cathode. Schuster found that the thickness of the cathode drop layer increased slightly with the current passing through the gas; but Wehnelt found just the reverse. Both may be correct on different sides of some particular value of the current for which the width of this space is a minimum. This is interesting in view of the fact that there is a certain current flux across the gas of the audion for which the response of the Hertzian oscillations is maximum; supposing this response is maximum when the width of the variation layer around the filament is minimum.
    Within the cathode layer there exist only negative ions, these being shot off from the cathode. Right outside of this, in the region called the "cathode glow," ionization of the gas from collisions with these negative ions begins, and the width of the cathode dark space is about the range of the "mean free path" of the ions.
    If a similar state of affairs exists around the filament of the audion, and if this mean free path of the cations coincides with the excursion of the corpuscles during one half the oscillation period of the impressed Hertzian vibration, we might expect under these conditions a maximum effect of response to oscillation of the particular wave-frequency. Or a similar effect might be expected if the excursion in question is that of an ion from the cathode across the gas up to the layer surrounding the anode.
    The extent to which the sensitiveness of the audion is governed by a very slight change in the heating current, or in the potential drop across it, seems to lend plausibility to such an explanation. And it has been shown that in conducting flames at atmospheric pressure, a negative ion acting under a potential gradient of 10 volts per millimeter would travel approximately 1 millimeter, or a commonly found distance between the electrodes in the audion, in 1 / 1,030,000 part of a second, which time-interval is of the order of one-half of the wave period of some of the longer oscillations used in wireless telegraphy. For reduced gas pressures the natural excursion of the ion would be more rapidly accomplished, but its velocity can be governed within wide limits by regulating the applied electromotive force. When we send more current through the filament we increase the potential difference between filament and anode as well as increase the heat. Both changes act to increase the ionic velocity.
    In Humstedt's experiments where a cathode-ray tube was exposed to high-frequency oscillations, the width of the cathode drop layer, or dark space, diminished as the frequency of the oscillations increased; as if there might be some connection between the period and the time involved in the immigration across. And many facts observed in connection with the audion otherwise difficult to explain tempt one to suppose that here the degree of response is connected with the relation between the product of velocity of the ions by the distance between the electrodes and the period or half-period of the electrical oscillations received.
    When the anode consists of two parallel plates instead of a cylinder there will be a maximum of positive electric density along their vertical edges. The more intense parts of the electric field will involve the larger number of ions, and on the anode these will generally be located at the vertical edges of the parallel plates, provided these are not too far from the filament.
    With this type of anode a peculiar and sudden inflection point in the current-flux diagram, as the heating current is gradually increased or decreased, is noticed. The flux goes on increasing, then suddenly drops back to a lesser value; at the same time a click is heard in the telephone in the B circuit. Then as the heating current is still further increased the B flux is again increased. These same cusp points in the curve are obtained if the A circuit be kept constant and the B voltage is increased instead. Similarly, a click is heard when the flux current is being reduced from a higher value, only the location of the cusp on the curve of decreasing current is not coincident with but lags behind that observed when B is being increased. This second cusp point shows a sudden increase in the flux current, when the critical point is reached, to a value previously passed through. Naturally the sharpness of these cusp points can be smoothed out or quite obliterated by putting impedance in the B circuit in series with the telephone.
    The diagram (Fig. 9) shows the relative magnitude of these sudden alterations in the flux current obtained with a certain sample audion, and also the decided hysteresis effect, showing how the actual B current lags behind the increasing or decreasing electric field which produces it. This hysteresis effect is very like that obtained when the molecular structure of iron is altered under a changing magnetic field. Doubtless it is here due to a reluctance of the ions to accommodate their paths and velocities to the impelling electric forces; and the area included between the two curves represents the work lost in accomplishing this conformation.
    These hysteresis curves are always obtained even though the anode is in the form of a cylinder or flattened cylinder without the vertical edges; but the reactive cusp points in the curves are never obtained save with two plane anodes connected together.
    Zeleny [Zeleny, Physical Review, vol. xii, 1901] has found a similar very curious hysteresis effect in the currents obtained from the ions from a platinum wire when heated and exposed to ultra-violet light. When the metal was cooling these currents were greater than those for the same temperature when the metal was being heated. In this case heating the wire produces some change in its surface, possibly in the amount of gas condensed thereon or absorbed by it, from which it recovers very slowly.
    As B voltage is increasing and A current is increased and decreased, I find that the points at which the cusps occur on the increase and decrease A-B curves coincide more and more nearly, and at the same time these cusps become less and less violent. The hysteresis effect is less pronounced as the B voltage is increased. As shown in the curves for a large B flux the two A-B curves for increasing and decreasing A current coincide almost exactly until B flux is reduced to a certain amount. They may again cross each other at a lower point of B flux, again diverge, and then coincide once more near their origin. These curves were all taken with audions of the double-wing type, which feature may account for some of the very peculiar characteristics observed.
    The filament is always at some part nearer to one wing than the other: Hence the B flux is chiefly concentrated on this wing or portion of wing, beam of cathode rays. We may suppose that as the B voltage is increased, as when more heating current is passed through the filament, the flux is increased and spreads out over this wing until a new sheaf or "ray" of ions, starting off from the filament from another part or in a new direction, suddenly leaves that and takes by preference a shorter path to the opposite wing. We would suppose that a new path thus taken would first be located on one of the vertical edges of the wings parallel to the filament.
    This sudden diminishing of the intensity or density of the original beam of ions may be accompanied by a decrease in the velocity of propagation of the ions, and thus the resultant flux be actually less than before. The reverse operation will occur when the B flux is being decreased from a high value.
    When the anode consists of one wing only, no such reverse cusp-points, or reversals of the flux increment, have been obtained. With a single-plane anode, however, there is found a point at which the flux increasing assumes a sudden increase in magnitude, presenting an abrupt rise in the otherwise smooth flux voltage curve; and the reverse when the current flux is being decreased.
    These effects seem to relate to the increased values of the positive variation layers along the vertical edges of the anode which parallel the filament. The distribution of the charge upon the surface of plate may be described as analogous to that of a film of liquid which coalesces and is heaped up along the edges, and from which, when the liquid is by any means drawn away, there is a sudden recession: the liquid, on account of the surface tension, letting go or taking hold of the edge all at once.
    It is significant that just at a cusp point the sensitiveness of the audion to the hertzian oscillations attains a marked maximum. Under the critical conditions then, obtaining the slightest change in the applied electromotive force is accompanied by relatively great changes in the B flux.
    In framing any theory of the action of electric oscillations in the audion a variety of complex contradictory phenomena are met with, exceedingly puzzling to explain. An example is the fact that a continuous current instrument either in the A or the B circuit shows absolutely no change of deflection either of increase or decrease, when B is large and the audion in its most sensitive condition. If only the positive halves of the oscillations pass from anode to filament these should increase the reading of a milliammeter in the B circuit during the passage of a long series of wave-trains of sufficient intensity. Or else the negative halves of these oscillations might be expected to diminish to a greater degree the positive charge on the anode, and result in a diminution of the B circuit. Or if both of these acted equally and oppositely no signal would be obtained at all, for the telephone diaphragm is utterly incapable of following such rapid increase and decrease in the B current, even if its impedance would allow these pulsations to pass through the circuit. Neither would the ear detect such vibrations.
    If on the other hand the integrated effect of a complete hertzian wave-train were either to increase or decrease the B flux, a long succession of such effects, all of which must be of the same sign, ought to cause a change in the needle's deflection, as when a long Morse dash is sent out from the transmitting station. We have no reason to suppose that one wave-train, the result of one spark, would produce a momentary increase in the B flux, indicated by a click in the telephone, and that the next succeeding wave-train from the next spark would cause an opposite increase in B flux, and another similar click in the telephone. Such action would of course explain why a loud sound in the telephone might not be accompanied by any change in the sluggish ammeter reading, similar to the case with the magnetic detector.
    The following explanation of the phenomena which seems to account for many of the peculiarities of this paradox has been suggested. It should be remembered that if the negative half of the electric oscillation can not pass through the gas from cold anode to the filament the audion electrodes during that period will act merely as the two armatures of a condenser. Even when close together, their mutual capacity, when the gas is cold, is exceedingly small, and only a very small positive charge can be held bound on the filament; or if there are sufficient free positive ions in the hot gap the complementary positive charge will be held just on the outside of the "variation layer" at the anode.
    The fall of potential across the variation layers at anode and cathode are proportional to the squares of the velocities of the positive and negative ions; and the ionic velocities are proportional to the electric forces acting upon them. Supposing then that during the positive half of the electric oscillations the velocity of the positive ions is increased at the anode layer, during the other half period the velocity of the negative ions is increased, due to the changes in the electric force acting upon them. Then regardless of the sign of the change of the velocities the potential drop across the variation layers (which varies with the square of these changes) will be increased during the entire passage of the oscillation train.
    The layer will act during this interval like a condenser, the potential drop across which is momentarily increased, which momentary increase will disappear with the passage of the wave-train. It will be as though the plates of a charged air condenser were suddenly further separated and then brought suddenly back to their normal positions; or as though the specific inductive capacity of the dielectric were decreased and then increased. This operation being repeated for every spark at the transmitter a listener in the telephone in the B circuit will hear a sound whose pitch is exactly that of the spark, while an ammeter in that circuit will show no variation in its deflection.
    As the fall of potential across the variation layers is proportional to the square of the current passing to that of the impelling electric force, it is readily understood how, by regulating the heating current and the B voltage, an optimum value of the electrode drop may be obtained for which the effect from any given received impulses will be a maximum. Also how by varying the distance between the electrodes the sensitiveness of response may be regulated.
    Thompson states that the current between two plates for a given difference of potential varies inversely with the cube difference of the distance between the plates, up to the saturation-current stage. But in the case of the audion where the cathode is an incandescent filament, the law seems to be quite different. Thus for two anodes of equal area, one approximately four times as far from the filament as the other, the two currents were as 21 to 8. The flux here varies more nearly with the inverse distance.
    The potential difference required to produce saturation is proportional to the square of the distance between plates and to the square root of the intensity of ionization. This latter depends on the temperature of the filament.
    In the case of the parallel plates, only one of which is incandescent, or if both are heated but below yellow heat so that only ions of one sign (positive) are present and carrying the current, then this current as Thomson shows is:
i = 9 R V ² / 32 π d ³ where R is the velocity of the ion under unit electric force, V the potential difference, D the distance between the two plates. According to this formula the current varies inversely as the cube of this distance. But this formula will hold only when R is independent of X, which it will not be when the temperature through the space is not uniform. It holds also only for currents that are small compared with their saturation values, for the saturation currents depend not upon the velocity of the ions but upon the number of ions produced in unit time at the surface of the hot electrode. But in the case of the audion with small potentials, the closer the electrodes are together the more rapidly will the B current increase as the potential drop is increased. The trajectories of the ion are shorter and they therefore undergo fewer collisions, reunions, and retardations when the electrodes are close together. In an audion where the anode is far from the filament the saturation current is not attained with the B voltages used with the audion in wireless telegraphy. We sometimes have instead its inverse counterpart, a saturation voltage, so to speak. As shown in the curve, at potentials from 10 to 18 volts a slight potential increment is accompanied by a very large increase in flux. And within these limits the sensitiveness of electric oscillations may be a maximum. The cusp points when present are generally found near these points of inflection in the flux-voltage curves.
    In some cases a remarkable lag or "creeping effect" is observed at this saturation stage. As shown in the curve, the milliammeter needle crept slowly up after B was raised to 14 cells, from 18 to 26 divisions. The current flux required something like 15 seconds in this instance to attain its full value. The filament in this case may have been undergoing some change which caused it slowly to discharge more and more corpuscles until that stage was reached where the recombination of oppositely charged ions in the gas exactly equaled the output of negatively charged ones from the incandescent surface. Sometimes this creeping is accompanied by a loud frying sound in the telephone.

chart: cells vs. cm
chart: milliamps in A vs. B. circuit
chart: milliamps in A vs. B. circuit
MAGNETIC EFFECTS.
    Thomson shows that at low gas pressures and high ionic velocities the ions, when placed in a strong magnetic field, will travel along the lines of strong magnetic force; but when the product of velocity and field is small the ion moves parallel to the electric force. If both magnetic and electric forces are uniform, the ions both positive and negative will move in the same direction and perpendicular to both E and H. When the electric field is not uniform but radiates from a point, and the magnetic field is uniform, the ion will describe a spiral traced on a cone of revolution whose axis is parallel to the magnetic field.
    If the directions of E and H coincide, the path of the ion itself is a helix of gradually increasing pitch, with its axis parallel to the lines of magnetic force. The radii of the spirals will be small compared to the length of the mean free path of the ions. This is especially true for the negative ions, even when the motion of the positive ions is but little affected by the magnetic field.
    If the electric field is not uniform (and it is not in the audion where the negative charge is located on the small cylinder of the filament instead of on a plane surface) the paths of the ions will not be cycloids, but in any case the ions will be turned back by the magnetic field after traveling a certain distance d, from their source. Thus they will never get farther than d from their source.
    When the lines of magnetic force are perpendicular to the discharge in the cathode-ray tube, the magnetic field at all pressures retards the discharge and diminishes to a considerable degree the great drop in the electric force which occurs in the negative glow.
    In general it can be assumed that in a strong magnetic field the ions tend to follow the lines of magnetic force. The smaller the velocity of projection the more nearly does the path of the ion coincide with a line of magnetic force. In cathode-ray tubes the boundary of the negative flow may coincide with the lines of magnetic force.
    In the case of the audion if the lines of a strong magnetic field pass through the gas parallel to the plane of the anodes, a marked reduction in the flux is obtained, sometimes amounting to 20 per cent. This effect is greater when the south pole of the magnet is nearest that leg of the filament which is attached to the negative terminal of battery A. The negative charge on this leg is of course greater than on the other, for the negative charge on the other is the resultant of the negative potential of battery B and the positive potential of battery A. And when the lines of magnetic force are so directed as to tend to sweep some of the negative ions off from the parts of the anode nearest to the filament leg which carries the greater negative potential, the reduction of the flux across the gas will be the greatest possible. Hence the magnetic polarity observed.
    If the filament extend above the top of the anode, say for 0.5 centimeter, then a magnetic field parallel to the filament legs may tend to force certain lost ions into a downward trajectory so that they will strike upon the anode instead of passing off above it. In this case only is an increase in the B flux observed as a magnet is brought up to the audion.
    In general the flux will be diminished by the magnetic field. When the magnetic lines pass perpendicular to the plane of the wings the negative ions which are traveling in the direction of the magnetic force, from filament to wing, will be accelerated, but those originally traveling out from the filament in the opposite direction will be bent around or deflected from their direct paths; so the resultant will be a decrease of the total current flux.
    When the field is intense, a marked frying or hissing sound in the telephone is heard, especially with the two-wing anode, and when the magnetic force is parallel to their plane and thus affecting mostly the ions which are streaming toward their vertical edges. In the hissing are parts of the arc are in rapid motion in the unstable portion around the edges of the positive terminal. Possibly also the presence of oxygen the gas enters into phenomena here as it does in those of the hissing arc. As the magnetic field lengthens the arc so here it lengthens the paths of the ionic discharge.
    The hissing is much more violent when the surfaces of the anode instead of being plane are punched full of little holes whose ragged and protruding edges offer a greatly increased opportunity for the ions to travel irregularly under the combined forces of the magnetism and of the electric charges heaped up at all such points and edges. In this particular audion, I could get a great range of singing or squeaking sounds as the heating current was varied. Where the velocity of the ions is a maximum their deflection by the magnetic field will be lessened.
    If the B flux is too great to give maximum sensitiveness of response, bringing up a magnet to the audion will increase the strength of the wireless signals, because of the reduction of the B flux. Or if this flux be already below the optimum then the presence of the magnet may decrease the sensitiveness. This effect may be more pronounced for one wave-frequency than another, in which case the audion can be attuned by regulating the magnetic field to which it is subjected.
    Consider the case where the electric oscillations instead of being introduced into the audion through its interior anode are brought up to a metal plate outside a vessel. Electric displacement currents instead of conduction currents must then act upon the ions within the vessel and on the charges upon the electrodes.
    Now in the case of an electromagnetic wave, where H and E are perpendicular to each other and to the direction of propagation, Thomson shows that if the product of H × e is large (e being the electric charge on a carrier) the average velocity of the ion parallel to the direction of E is zero, and the wave will carry the ion along with it. When, however, H × e is small (no external magnetic field) the effect of the Hertzian wave will be to superimpose on the undisturbed motion of the ion a small vibratory motion parallel to the electric force of the wave and thus perpendicular to its direction of propagation.
    A very convenient form of audion for investigating the relations which the distance, area, etc., of the electrodes bear to its response is had by using a pool of mercury for the anode. This is conveniently held in one or more pockets blown in the walls of the glass vessel, and the filament so placed as to pass closer to some than to others.
    Quite frequently I obtain with this arrangement two maxima of sensitiveness to the same transmitter, the filament heating current remaining unchanged; thus one maximum for B = 12 volts and a second for B = 18 volts. Again the sensitiveness is maximum when the mercury surface is as near as possible to the filament. When a globule has rolled out of its pocket, exposing a new surface for the anode, sometimes half a second elapsed before the sensitiveness is again restored. This form of mercury tube was especially sensitive to the influence of a magnetic field.
    The optimum or critical voltage of B becomes less after this audion has been heated a little time, as though the heated mercury vapor began to act to increase the conductivity of the gas. This critical voltage keeps reducing as the vaporization proceeds, and with a sudden jar on the tube I can bring this down, one cell of B at a time accompanied by a loud click in the telephone at each reduction. Sometimes a similar reduction of the B flux amounting to as much as 25 per cent can be obtained with the double platinum wing type of audion, by striking it smartly; or a sudden increase in the flux may be obtained.
    The heating current when a large anode surface is used is less than that required to produce the same degree of sensitiveness with a small pool of mercury as anode. In general the flux is quite proportional to the area of the anode, other conditions remaining unchanged. A mercury arc also may be substituted for the filament, but such an arrangement is apt to be noisy in the telephone.
    When the hertzian oscillations are passed through the filament instead of through the gas, they require to be of great intensity to give any response whatever. Any results from the added heating effect which they may contribute to the filament are quite insignificant. The response when the audions are connected up in parallel, or series, is always less than for one alone.
    In a tube whose two-plane anodes are fitted on hinges and backed with small iron disks so that their distances from the filament can be regulated by an external magnet, I find the response to a long wave-length greatest when this distance is the greatest possible; while to a wave-length of about one-half this, the response is decidedly better when the wings are nearer to the filament. Of course the B flux is greater in this latter case, other conditions being unchanged; but the selective quality in this tube just described seems to be due to the regulations of the distance between anode and cathode rather than to other factors.
    The manner in which the audion should be located in the oscillating circuit, as well as many other considerations, show conclusively that it is a "potential-operated" rather than a "current-operated" relay receiver. At the same time its advantageous sluggishness of action, as explained above, renders it additive in its response to the energy of an entire wave-train or even of a series of wave-trains. Hence its excellent and marked selective qualities.
    A large number of experiments have been carried out with a view to reducing the filament heat necessary to give the inclosed type of the audion the extreme sensitiveness which now characterizes it. This is now attained at normal brilliancy of the filament, or a little below; never at excessive heats. Thus the life of an audion should be that of an incandescent lamp of the same class of filament and voltage.
    Filaments have been coated with alkali metals or salts, or vapors of these introduced into the tubes. Experiments along these lines and with various dissociable gases are being pushed with gratifying promise of our soon being able to achieve the present marked sensitiveness even at red heats; or of still further multiplying the sensitiveness.
    Radio-active compounds, applied for example between juxtaposed metal disks and heated, give little encouragement. At the low voltages used no increase of conductivity by their means has been observed, although Swinton has found that a radium coated cathode in a cathode-ray tube has a marked action in facilitating a luminous cathodic discharge, when the cathode is heated to redness. The mere presence of radium in the tube is insufficient to produce the effect.
    Spontaneous ionization, that is the ionization independent of the electric field, as for example that produced by the X-rays, does not increase the current flux. Only the ions produced by the electric field itself close to the cathode, and by the heat of the cathode, are effective.
    It is required that the audion be made with scrupulous care; a trace of impurity in the gas may produce surprisingly large effects in the potential across the variation layer. The presence of a mere trace of moisture may cause great difference in the behavior of a tube.
    In all this work a bewildering host of new and puzzling phenomena is continually encountered. By its nature clean and pretty, fascinating in its ever new phases, gratifying in the efficiency with which it responds to the difficult demands of a new and intricate art, the audion combines infinitely delicate matter and forces, at once offering rich fields for study to the physicist and delight to the practical man.

* For its name, Audion, a title as beautiful as it is appropriate, I am indebted to my assistant, Mr. C. D. Babcock, who has been of utmost service to me in the development of this device almost from its inception.
    Copyright 1906, by the American Institute of Electrical Engineers, before which society this paper was read.